行业动态

了解最新公司动态及行业资讯

土壤破碎筛分的三个阶段

2018-11-30 01:41:30 144 编辑:admin 来源:本站
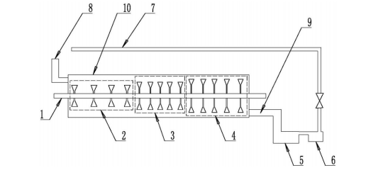
    新型所述的粘性物料土壤破碎筛分装置,包括土壤破碎装置,破碎装置一端连通筛 分装置,筛分装置分别连通搅拌池和余料收集装置,余料收集装置通过回料管连通破碎装 置:破碎装置包括壳体,壳体内设有破碎轴,破碎轴上设有切片组,切片组呈阶梯状布置。
物料进入壳体内,阶梯状切片组先是将物料段式分离,然后,土壤破碎,再将破碎后的 物料与水混合均匀并导入筛分装置,破碎后的物料进入搅拌池,需要再次破碎的物料经筛 分装置筛分后进入余料收集装置,通过回料管送入壳体内再进行破碎。
   进一步优选地,切片组包括段式分离切片组、破碎切片组和混合导出切片组,段式 分离切片组、破碎切片组和混合导出切片组长度由小到大设置。直径小的段式分离切片组 对物料进行段式分离,直径中等的破碎切片组对物料进行破碎,直径较大的混合导出切片 组将物料与水充分混合并导入筛分装置。
土壤破碎筛分
   进一步优选地,段式分离切片组的长度小于破碎轴到壳体内壁长度的一半。便于 段式分离切片组对物料初步破碎,进行段式分离。
   进一步优选地,破碎切片组的长度大于段式分离切片组的长度,破碎切片组的长 度小于破碎轴到壳体内壁长度的三分之二。对于已经段式分离的物料进一步进行破碎。 [0009] 进一步优选地,混合导出切片组的长度大于破碎切片组的长度,混合导出切片组 的长度小于破碎轴到壳体内壁长度的四分之三。对已经破碎好的物料与水充分混合,并逐 步导入筛分装置。 

30

装备制造经验

立即免费获取土壤修复方案

为用户提供及时、高效、便捷的服务

在线咨询
凯发k8环境希望与你携手,共创美好未来...
5